

— 合作品牌 —
咨詢電話 15301310116 手機:15301310116
微信:15301310116
郵箱:sales@madison-tech.com
地址:北京市海淀區中關村軟件園11號樓一層
真空角閥MT221系列,CF法蘭,氣動驅動方式,帶波紋管。
產品詳情
真空角閥MT221系列,CF法蘭,氣動驅動方式,帶波紋管。
產品參數:
不銹鋼閥體表面處理:低于4英寸拋光。
端口外徑為3/4~3英寸(19.05~76.2mm)。
工作氣壓:4~6.5bar。
Viton密封圈:真空度10-9 mbar。
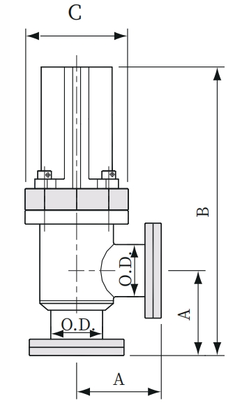
產品尺寸:

產品選型:
型號 | A ”(mm) | B ”(mm) | C ”(mm) | O.D. ”(mm) |
MT221-SSAV-C16-P | 2.50”(63.5) | 7.13”(181.1) | 2.24”(56.8) | 0.75”(19.05) |
MT221-SSAV-C35-P | 2.46”(62.5) | 8.33”(211.7) | 2.98”(75.8) | 1.50”(38.1) |
以上就是北京麥迪森科技有限公司提供的真空角閥產品介紹,如想了解角閥價格,請咨詢客服15301310116(微信同號)。
